Section 05-03A: Axle, Front Drive, Dana Models 44 and 50 | 1996 F-150, F-250 4x4 and Bronco Workshop Manual |
| Description | Tool Number |
|---|---|
| Threaded Drawbar | T75T-1176-A |
| Pinion Bearing Cup Replacer | T80T-4000-D |
| Pinion Bearing Cup Replacer | T80T-4000-E |
| Pinion Bearing Cup Replacer | T80T-4000-F |
| Truck Pinion Depth Gauge | T80T-4020-A |
| Pinion Bearing Cone Replacer | T53T-4621-B |
| Axle Bearing/Seal Plate | T75L-1165-B |
Install inner and outer differential drive pinion bearing cups with Threaded Drawbar T75T-1176-A and Pinion Bearing Cup Replacers T80T-4000-D (inner) and T80T-4000-E (outer) for Model 44 axles or T80T-4000-F (inner) and T80T-4000-E (outer) for Model 50 axles.

| Item | Part Number | Description |
|---|---|---|
| 1 | T80T-4000-E | Pinion Bearing Cup Replacer — Outer (Models 44 and 50) |
| 2 | T80T-4000-D | Pinion Bearing Cup Replacer — Inner (Model 44) |
| 3 | T80T-4000-F | Pinion Bearing Cup Replacer — Inner (Model 50) |
| 4 | 4628 | Rear Axle Pinion Bearing Cup, Inner |
| 5 | 4616 | Differential Drive Pinion Bearing Cup, Outer |
| 6 | T75T-1176-A | Threaded Drawbar |
NOTE: If any of the gauge surfaces become nicked, the high spots must be removed with a medium India oilstone to eliminate erroneous readings.
Place a new differential pinion bearing (4630) over the proper aligning adapter and insert into the pinion bearing retainer assembly. Refer to the illustration for correct tools for the particular axles.

| Item | Part Number | Description |
|---|---|---|
| 1 | T80T-4020-F42 | Gauge Block (Part of T80T-4020-A) |
| 2 | T75P-4020-A2 | Aligning Adapter |
| 3 | T80T-4020-F43 | Screw (Part of T80T-4020-A) |
| 4 | 4621 | Differential Pinion Bearing |
| 5 | T76P-4020-A11 | Handle (Part of T80P-4020-A) |
| 6 | 4630 | Differential Pinion Bearing |
| 7 | D80T-4020-F44 | Gauge Disc (Part of T80T-4020-A) (Model 44) |
| 8 | T80T-4020-F40 | Gauge Disc (Part of T80T-4020-A) (Model 50) |
| 9 | D80T-4020-F47 | Gauge Tube (Part of T80T-4020-A) (Model 44) |
| 10 | T80T-4020-F41 | Gauge Tube (Part of T80T-4020-A) (Model 50) |
Place the front differential pinion bearing (4621) (new or used if in good condition) into the differential drive pinion bearing cup (4616) in the carrier and assemble the handle onto the screw and hand-tighten.
Note the 3/8-inch square drive in the handle to be used for obtaining the proper differential pinion bearing preload.
Center the proper gauge tube into the differential pinion bearing bore. Install the bearing caps and tighten to proper Specifications listed at the end of this section. To preload the differential pinion bearing, tighten the handle to 2.3-3.4 Nm (20-30 lb-in).
NOTE: The feeler gauge fit between the gauge tube and the gauge block should be a slight drag-type feeling.
Using a feeler gauge tool or shims, select the thickest feeler shim that will enter between the gauge tube and the gauge block. Insert the feeler gauge or shims directly along the gauge block to insure a correct reading.
NOTE: If the service pinion gear is marked with a plus (+) reading, this amount must be subtracted from the thickness dimension obtained in Step 6.
For example: +2 (-0.002).NOTE: If the service pinion gear is marked with a minus (-) reading, this amount must be added to the thickness dimension obtained in Step 6. For example: -2 (+0.002).
After the correct shims or feeler gauge feel is obtained, check the reading and this is the thickness of shim required providing that upon inspection of the service pinion gear, the button is etched "0."
In addition, use the exact same new differential pinion bearing used in the previous steps.
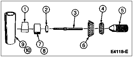
Measure shims with a micrometer to verify the shim size. Place the correct size selective shim on the pinion and press on the differential pinion bearing. Use Pinion Bearing Cone Replacer T53T-4621-B and Axle Bearing/Seal Plate T75L-1165-B as shown.

| Item | Part Number | Description |
|---|---|---|
| 1 | — | Press |
| 2 | — (Part of 3222) | Drive Pinion |
| 3 | T53T-4621-B | Pinion Bearing Cone Replacer |
| 4 | 4630 | Differential Pinion Bearing |
| 5 | T75L-1165-B | Axle Bearing Seal Plate |
After following these procedures, continue to build the remaining components with proper pinion and differential bearing preload torques and ring gear backlash.