Section 11-00: Steering System, Service | 1996 F-150, F-250, F-350, Bronco and F-Super Duty Workshop Manual |
NOTE: If the air is not purged from the power steering system correctly, a second customer concern or pump failure could result. This condition can occur on pre-delivery vehicles with evidence of aerated fluid or vehicles that have had steering component service.
A whine noise heard from the power steering pump (3A674) may be caused by air in the system. This procedure must be performed under the following conditions:
Fluid Level Top-Off Procedure
Check and fill power steering oil reservoir (3A697) to dipstick FULL COLD.
Disable ignition by disconnecting the EDIS/DIS/TFI module or, for remote TFI, disconnect CMP/Hall effect/PIP sensor.
NOTE: On 7.3L diesel vehicles, the fuel shutoff solenoid (on the injection pump) must be disconnected to prevent starting.
Crank engine 30 seconds, check fluid level and add if required.
CAUTION: Do not hold steering wheel (3600) in the far left or right position, or damage to power steering pump may result.
Crank engine 30 seconds while cycling the steering wheel stop to stop.
Check fluid level and add fluid if required.
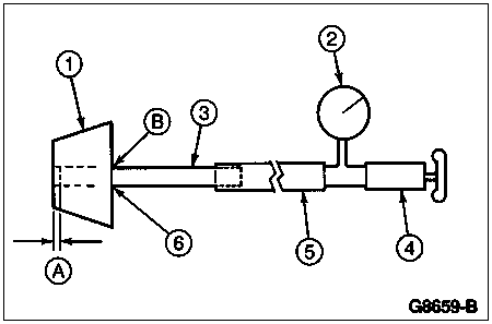
Air Purge With External Vacuum Source Procedure
Tightly insert the rubber stopper of the air evacuator assembly into pump reservoir.
Reconnect connection used to disable ignition. Start vehicle.
Apply 20-25 in-Hg (68-85 kPa) maximum vacuum for minimum of three minutes at idle; maintain maximum vacuum with source.
Release vacuum and remove vacuum source.
Add fluid to FULL COLD or reservoir center mark.
Reinstall vacuum source and apply 20-25 in-Hg (68-85 kPa) vacuum.
CAUTION: Do not hold steering wheel in the far left or right position, or damage to power steering pump may result.
Cycle steering wheel from stop to stop every 30 seconds for approximately 5 minutes.
Shut engine off, release vacuum and remove vacuum source.
Add fluid if necessary; install dipstick or power steering pump oil reservoir filler cap (3A006).
CAUTION: Do not hold steering wheel in the far left or right position, or damage to power steering pump may result.
Start engine and cycle steering wheel from stop to stop every 30 seconds for approximately five minutes.
Check for oil leaks at all connections.
In severe cases, it may be necessary to repeat procedure.

| Item | Part Number | Description |
|---|---|---|
| 1 | — | Rubber Stopper Cap No. 11 |
| 2 | 021-00014 | Rotunda Truck Gauge |
| 3 | — | Tubing — Plexiglass, Steel on Copper, 1/4-5/16-Inch |
| 4 | — | Vacuum Source (Hand Pump) |
| 5 | — | Vacuum Hose |
| 6 | — | Hole, 6.35-7.93mm (1/4-1/3 Inch) |
| A | — | Dimension — 3.175mm (1/8 Inch) from Stopper End |
| B | — | Tight Seal Between Stopper and Tubing |