1994 PCED OBDI-A | SECTION 18A: Diesel Diagnosis — 7.3L DI Engine |
N: Clutch Pedal Position (CPP) Switch Introduction | N: Pinpoint Tests |
You should enter this pinpoint test only when you have been directed here from symptom charts.
This pinpoint test is intended to diagnose only the following:
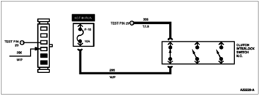
This switch detects when the clutch pedal is depressed (manual transmissions) to disable the speed control system and PTO/raised-idle mode. Switch actuation occurs as the clutch is initially depressed prior to disengaging the transmission at the top of travel.

| N: Pinpoint Tests |